Expert Answers

(Solved): The speed of propagation v of a wave is the distance the wav...

The speed of propagation

v

of a wave is the distance the wave travels in a given time, which is one

_(_())_(_())

in the time of one period.

?

wavenumber

?

wavepiece

?

wavepart

?

wavelength

(Solved): Social-contextual learning consists of formal training lectu...

Social-contextual learning consists of formal training lectures designed by a company.

?

True

?

False

(Solved): SORU 2) (30 Puan) Aada verilen devre iin Rab edeer direnci b...

SORU 2) (30 Puan) A?a??da verilen devre için Rab e?de?er direnci bulunuz.

(Solved): Cannon and Riordan acknowledge that conventional media plann...

Cannon and Riordan acknowledge that conventional media planning is based on media vehicle exposure, however effectiveness should relate to Blank______. Multiple choice question. message continuity media vehicle exposure advertising message exposure overexposure

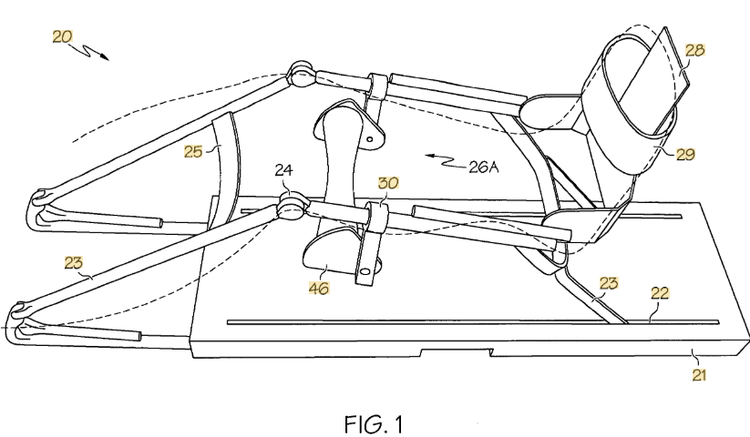
(Solved): FIG. 1 draw a basic sketch of the mechanism then a basic kin...

FIG. 1 draw a basic sketch of the mechanism then a basic kinematic diagram

(Solved): In terms of splitting rules, finding 2 classes that comprise...

In terms of splitting rules, finding 2 classes that comprise

(1)/(2)

or more of the cata is called

_(_())_(_())

?

bifurcating

?

twoing

?

half-splitting

?

folding

(Solved): Imagine a popelation of mods. Soute black modes move into an...

Imagine a popelation of mods. Soute black modes move into and start mating with a population of white moth. This increases the frequency of genes for black coloration is the whice moths' population. Which evolutionary process does this scenario describe?

?

tippation

?

mutation

?

natural selection

?

percetice dif Examish

(Solved): What typically causes a hurricane to curve northward and the...

What typically causes a hurricane to curve northward and then northeastward?

?

Eye wall collapse

?

Trade winds

?

Westerlies and upper-level steering currents

?

Coriolis acceleration

(Solved): Hurricanes form most frequently: _(_())_(_()) near the poles...

Hurricanes form most frequently:

_(_())_(_())

near the poles

_(_())_(_())

in the midlatitudes

?

near the equator

_(_())_(_())

between 5 and 20 degrees latitude

(Solved): In the existing production system a company produces 50 unit...

In the existing production system a company produces 50 units per hour employing five workers. Labor costs are $16/hour, and material input is $20/unit. Overhead is charged at 1.3 times the total labor cost. Now the company has introduced a process improvement that reduces processing time for each unit, so that output is increased by 25% with less material cost per unit, but one additional worker required. For the new process, material is now $16/unit. Labor cost rate and over head calculation rule remains the same. What is the multifactor productivity for this company in their new system when they sell their finished product units $26 each?

We Provide Services Across The Globe